衛生級單螺桿泵產品概述:
衛生螺桿泵是按迥轉嚙合容積式原理工作的新型泵種,主要工作部件是偏心螺桿(轉子)和固定的襯套(定子)。由于該二部件的特殊幾何形狀,分別形成單獨的密封容腔,介質由軸向均勻推行流動,內部流速低,容積保持不變,壓力穩定,因而不會產生渦流和攪動。每級泵的輸出壓力為0.6MPa,揚程60m(清水),適用于輸送介質溫度80℃以下(特殊要求可達150℃)。因定子選用多種彈性材料制成,所以這種泵對高粘度流體的輸送和含有硬質懸浮顆粒介質或含有纖維介質的輸送,有一般泵種所不能勝任的特點。其流量與轉速成正比。傳動可采用聯軸器直接傳動,或采用調速電機,三角帶,變速箱等裝置變速。這種泵零件少,結構緊湊,體積小,維修簡便,轉子和定子是本泵的易損件,結構簡單,便于裝拆。

衛生級螺桿泵優點:
1)壓力和流量范圍寬闊。壓力約在3.4-340千克力/cm 2,流量可達18600cm3/分;
2)運送液體的種類和粘度范圍寬廣;
3)因為泵內的回轉部件慣性力較低,故可使用很高的轉速;
4)吸入性能好,具有自吸能力;
5)流量均勻連續,振動小,噪音低;
6)與其它回轉泵相比,對進入的氣體和污物不太敏感;
7)結構堅實,安裝保養容易。
衛生級螺桿泵的缺點是,螺桿的加工和裝配要求較高;泵的性能 對液體的粘度變化比較敏感。
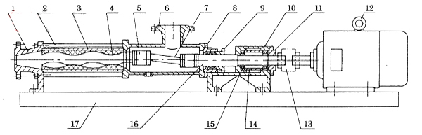
衛生級螺桿泵結構:

|
1 |
出料口 |
4 |
螺桿軸 |
7 |
連節軸 |
10 |
軸承座 |
13 |
連軸器 |
16 |
傳動軸 |
|
2 |
拉桿 |
5 |
萬向節總成 |
8 |
填料座 |
11 |
軸承蓋 |
14 |
軸套 |
17 |
底座 |
|
3 |
定子 |
6 |
吸入口 |
9 |
填料壓蓋 |
12 |
電動機 |
15 |
軸承 |
它主要是由固定在泵體中的襯套(泵缸)以及安插在泵缸 中的主動螺桿和與其嚙合的兩根從動螺桿所組成。三根互相 嚙合的螺桿,在泵缸內按每個導程形成為一個密封腔,造成 吸排口之間的密封。 泵工作時,由于兩從動螺桿與主動螺桿左右對稱嚙合, 故作用在主動螺桿上的徑向力******平衡,主動螺桿不承受彎 曲負荷。從動螺桿所受徑向力沿其整個長度都由泵缸襯套來支承,因此,不需要在外端另設 軸承,基本上也不承受彎曲負荷。在運行中,螺桿外圓表面和 泵缸內壁之間形成的一層油膜,可防止金屬之間的直接接觸,使螺桿齒面的磨損大大減少。
不銹鋼單螺桿泵工作時,兩端分別作用著液體的吸排壓力,因此對螺桿要產生軸向推力。對于壓差小于10千克力/cm2 的小型泵,可以采用止推軸承。此外,還通過主動螺桿的中央油孔將 高壓油引入各螺桿軸套的底部,從而在螺桿下端產生一個與軸向推力方向相反的平衡推力。
螺桿泵和其它容積泵一樣,當泵的排出口******封閉時,泵內的壓力就會上升到使泵損壞或使電動機過載的危險程度。所以,在泵的吸排口處,就須***設置安全閥。
不銹鋼單螺桿泵的軸封,通常采用機械軸封,并可根據工作壓力的高低采取不同的形式。
衛生級螺桿泵工作原理:
衛生級螺桿泵是利用螺桿的回轉來吸排液體的。由于各螺桿的相互嚙合以及螺桿與襯筒內壁的緊密配合,在泵的吸 入口和排出口之間, 就會被分隔成一個或多個密封空間。隨著螺桿的轉動和嚙合,這些密封空間在泵的吸入端不斷形成,將吸入室中的液體封入其中,并自吸入室沿螺桿軸向連續地推移至排出端,將封閉在 各空間中的液體不斷排出,猶如一螺母在螺紋回轉時被不斷 向前推進的情形那樣,這就是立式螺桿泵工作時,液體被吸入后就進入螺紋與泵殼所圍的密封空間,當主動螺桿旋轉時,螺桿泵密封容積在螺牙的擠壓下提高螺桿泵壓力,并沿軸向移動。由于螺桿是等速旋轉,所以液體出流流量也是均勻的。
衛生級螺桿泵技術參數:
流量:0-150m3/h;
揚程:0-240m;
功率:0.75-37kw;
轉速:500-960r/min;
口徑:20-135MM;
溫度:-15-200℃。
G型單螺桿泵使用注意事項:
1,開機前必先確定運轉方向,不得反轉。
2,嚴禁在無介質情況下空運轉,以免損壞定子。
3,新安裝或停機數天后的泵,不能立即起動,應先向泵體內注入適量機油,再用管子鉗板動幾轉后才可起動。
4,輸送高粘度或含顆粒及腐蝕性的介質后,應用水或深劑進行沖洗,防止阻塞,以免下次起動困難。
5,冬季應排除積液,防止凍裂。
6,使用過程中軸承箱內應定期加潤滑油,發現軸端有滲流時,要及時處理或調換油封。
7,在運行中如發生異常情況,應立即停車檢查原因,排除故障。




